
这次保险公司动作真挺快,9月没过几天,新产品就蹭蹭上,我们又有的忙活了。
今天专门说说新上线的达尔文12号:
保障做了很多升级,部分疾病赔付条件也变宽松了,现金价值也更高了。
另外对于可选保障也进行了升级,一个保险就能搞定高保额、多次赔等需求,买法因人而异。
总的来说,就是有很多隐藏的惊喜。
整体内容如下:
达尔文12号还是由复星联合健康承保,整体如下表:
_副本.png)
相对于达尔文11号的改动,已经用红字标注,比如开放保至70岁、一些保障赔付比例变高、理赔条件放宽等,细节满满,下面详细说。
总的来说,达尔文12号有3个优势,分别如下:
1、基础保障很扎实
120种重疾,50万保额赔一次,如果首次重疾是意外导致的,比如车祸导致多处截肢能赔67.5万。
它自带市场上少见的「住院津贴」保障,如果60岁之前都没得重疾,60岁后住院每天就给500元,每年最多90天,即4.5万元。
人有可能一辈子不得重疾,但大概率会住院,这个保障大大拉低了理赔门槛,不过要注意它和重疾共用保额。
它的重疾赔完,还能继续赔轻中症,没有间隔期,没有分组,也是目前最宽松的规定。
很多产品重疾赔完后,不再赔轻中症,也有些产品重疾赔完,不能赔同组轻中症,比如先得癌症,就不再赔原位癌了。
轻中症这块,覆盖得很全面,如下表:
_副本.png)
高发的12种轻中症,都有覆盖,有3种还能赔30万,保额很高。
另外它放宽了「原位癌」的理赔条件,从“手术治疗”改成了“积极治疗”,放疗、化疗等也能正常理赔了。
原位癌,作为非常高发的轻症,这个改动价值很大。
.png)
(平安人寿2024年理赔年报)
2、部分重疾理赔门槛变宽
之前有个「心肌炎未满90天身故被拒赔」的新闻,也有官方媒体说:人不可能按合同约定的方式生病。
这次,达尔文12号专门放开了这类疾病关于「天数」的要求,以少儿高发的严重心肌炎为例:
.png)
(达尔文12号条款)
如果达到条件1,不满90天就身故了,也可以正常理赔。
还有4种疾病放宽理赔:严重慢性缩窄性心包炎、严重原发性心肌病、严重肺源性心脏病、败血症导致的多器官功能障碍综合症,这4种发病人群以成人为主。
不过这5种疾病,都不在28种高发重疾之列,放宽只是锦上添花,大家了解即可。
3、高现金价值
预定利率下调之后,达尔文价格也涨了一些。
以50万保额,保终身,30年交为例,30岁男性每年6710,30岁女性每年是6290,涨价金额在700元左右。
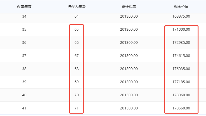
虽然贵了,但仍然值得选,一方面是保障升级,另一方面交费增加后,现金价值也变高了,如下图:
.png)
65~83岁,现金价值一直在17万以上,最高接近18万,相当于保费的90%。
相对于旧产品,达尔文12号总保费贵了大概2.1万,但现金价值最大值多了2.5万,算下来并不亏。
现金价值这笔钱永远属于投保人,万一以后有特殊情况,也可以退保拿回来,不过退保后就没了保障,需要慎重考虑。
总的来说,这款产品基础保障扎实,现金价值很高,部分疾病放宽理赔条件,仍然值得考虑。
如果想知道达尔文12号怎么买更合适,也可以点击这里,预约专业顾问咨询。
介绍完了基础保障,我们再来详细说说可选保障,也有很多亮眼的地方,性价比超高。
达尔文12号,一共有6项可选保障,具体如下表所示:
_副本.png)
前3个可选保障,都可以增加保额;后3个可选保障,都可以实现多次赔。
其中,可选保障第1、2、5,都是之前就有的保障,变化也不大,大家可以看看表格。
这里我们重点介绍3个标★的可选保障,它们要么性价比很高,要么理赔很宽松或者保障很全面。
1、顶梁柱关爱金,几十块钱让癌症多赔15万
这个保障比较简单,万一得了癌症,孩子未满18岁且生存,或者爸妈超过60岁且生存,就能多赔15万。
孩子和爸妈,任意一人符合条件即可。
我来给大家算笔账,假如小王今年30岁,儿子0岁,父亲55岁,母亲50岁,假设父亲80岁去世,母亲85岁去世。
那么,小王哪些年龄段有额外15万癌症赔付呢?看下表橙色部分:


可以看到,从买了这份保单开始,直到小王母亲去世的35年间,小王的癌症保额一直是65万,时间真的很长。
更关键的是,30岁小王附这项保障,只要85块钱,非常划算。
如果有娃、或者打算生娃,或者有爸妈需要照顾,这个保障很建议附加。
2、癌症津贴:不进行治疗也能赔
这项责任赔付规则如下:
如果首次重疾是癌症,每隔一年可以仍处于癌症状态,可以赔20/25/15万,如果首次重疾不是癌症,那么首次癌症津贴间隔期只要180天。
癌症状态,包括持续、转移、复发、新增,这次特地对于“持续”做了一个小升级:
.png)
过去是“且”,现在改成了“或”,宽松一些。
比如说因为一些原因,无法或不建议接受癌症治疗,这款能正常理赔。
附加之后涨幅不到20%,性价比很高,因为癌症理赔占比60~70%,治疗周期也基本在3~5年。如果关注癌症保障,可以考虑附加。
3、终身重疾多次赔:前后同种、不同种重疾全面覆盖
这是一项新增可选保障,附加之后终身重疾都能多赔2次,每次60万。
它是“真多次赔付”,前后是同种重疾、不同种重疾都能赔付,间隔期最短只要180天,除了同种疾病持续状态不能赔。
另外也没有三同条款,我们也咨询了,像同一疾病导致的不同重疾,也有机会赔。
比如说先得白血病,赔了50万,在医生建议下先做诱导缓解治疗、巩固治疗,180天后病情复发,医生建议做骨髓移植,可以再赔60万,非常宽松。
附加后,价格涨幅为23~24%,相对于另外一款高性价比产品,要便宜一千多,更划算。
下面结合基础保障和可选保障,给大家推荐几套常见的买法,你也可以点击这里咨询专业顾问1v1定制。
这里推荐3套买法,预算从低到高排列。
以下测算都选择了“30岁,50万保额,30年交”,如果你觉得交费压力大,也可以考虑35年交,或者选择40/45万保额等。
买保险是为了防范未来的风险,如果因为保费太高影响当下的生活,反而本末倒置了。
1、看重性价比,选择基础保障
保障足足有6项,覆盖轻中症、豁免,重疾赔完继续赔轻中症,还有60岁后住院津贴保障,非常扎实。
_副本.png)
如果觉得交费压力比较大,可以考虑选择35年交,每年少交约600元,或者降低保额到45万等。
2、看重癌症保障,附加癌症津贴
它的癌症津贴理赔条件宽松,间隔期很短,附加后涨幅不到20%,非常划算。
_副本.png)
如果家族有癌症史,或者比较关注癌症,值得考虑。
3、担心得了重疾后就没有保障,附加重疾多次赔
这里分为两个方案:
_副本.png)
另外,建议大家在以上3个方案基础上,多花几十块钱附加「顶梁柱关爱金」,癌症能够多赔30%,性价比超高。
可能很多朋友纠结保70岁还是保终身,个人更建议选后者,原因有两个:
总的来说,这款产品可以选的项目很多:保70岁和保终身,30年交和35年交,6种可选保障几十种组合方式。
如果你想知道最适合你的方案,可以点击这里,让顾问按照你的情况测算。
过往重疾险升级总是在保障上添砖加瓦,这次达尔文却在理赔上下足了功夫:
我觉得,这是达尔文很人性化,很有价值的一次升级,因为升级角度从「产品」转换为了「客户」,真真切切想为保险消费者做一些事情。
保险向善,才能走得更远。
如何挑选高性价比的重疾险,点击下方卡片预约规划师,免费讲解。
84521
84504
84500
84498
84400
84152
84054
83521
83000
82145